���������� � ������� ������ ��-�
������� ������ ��������� ����������� ������ ��-� (�������� �� �������� �������) :
- ��� ������� �� ����� 35, ����� 10 ������� �� ���������� � �������� 15, � ��� ��������� ������ ������� 11 �������������� ������ ����� ���, ������� ���� �� �������� 25, ����� ���� ���������� �������;
- ��� ��������� ������� � ������� ������ ���������, ������ 3, ��������� �������������� 26 ��������, ������� ���������� ������� 32. �������� ��� ������� � ����������� ������������� ������ ����� ���� �������;
- � ������� ������ ���������, ������ ������������ ����� ����� � ������ ��� �� ������ �����. ��� ���������� ������� ��� ��������� ���������� ������� ������ ������������ ������. ��� �������� ������ ������ ���������� ��������� �������� �� �������� 19 � �������� ��� � ���������. ���������� ��������� ��������;
- ��� ������������ ���������� �������� ������ �� �����;
- �� �������������� ���� ���������� �� �������� ������ ��������������� � ������ ��������� �� ��������� �������� 21. ��� ����������� �������� ���������� ������� ��������������� �������, ��� ���� �������� ������� ������� �� ���� ������� �������� 29, �������� ������� � �������� ��������.
����� ��� ��������� ����������� ������ "��-�" ��� �������-�������������� "������" � �������.
 |
 |
|
|
- 1-����������;
- 2-������������ ������;
- 3-������;
- 4-��������;
- 5-�����;
- 6-�������� ������;
- 7-������� ��������;
- 8-�����;
- 9-�����������;
- 10-�����;
- 11-������ �������;
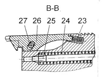
- 12-������� ��������� ��������;
- 13-��� �����;
- 14-������� ������� ������ �������;
- 15-�������;
- 16-��� �������;
- 17-������� �������;
- 18-��������� �������;
|
- 19-�������;
- 20-����� �������� ������;
- 21-��������� ��������;
- 22-����� �������� �����;
- 23-������� �������������,
- 24-������� ��������;
- 25-�������;
- 26-�������������;
- 27-������� �������������;
- 28-������� ��������;
- 29-���� ������� ��������;
- 30-������� ������� ��������;
- 31-�������� ���������� ���������� �������;
- 32-���������� �������;
- 33-������������ �������� ���������� �������;
- 34 �����;
- �5-�����;
|
|
���������� ������ ���������, ���������� �� ��-� �� ������ �����.
������ ���������� �������� ��-� � ����� �������� �������� �� ������ �����.